
24小時服務熱線:135-0317-6066
Product display
Hot News
Contact Us
河北省獻縣滄恒環保設備廠
聯系人:王經理
電 話:0317-4641055
手 機:135-0317-6066
郵 箱:cangheng@qq.com
地 址:獻縣陳莊鎮經濟開發區



一、簡介
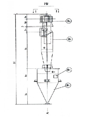
該種除塵器,是由旋風筒體,集灰斗和蝸殼(或集風帽)三部分組成,按筒體個數區分,有單筒,雙筒,三筒,六筒等五種組合,每種組合有兩種出風形式:Ⅰ型水平出風和Ⅱ型(上部出風)。對于Ⅰ型雙筒組合者,另有正中進出風和旁側進出風兩種組合形式,Ⅰ型單筒和三筒只有旁側時出風一種形式,四筒和六筒組合則只有正中進出風形式,對于二型各種組合,可采用上述Ⅰ型中的任意一種進風位置,該種除塵設備具有阻力小,除塵效率高,處理風量大,性能穩定,占地面積小結構簡單,實用廉價等特點。適用于各種機械加工,冶金建材,礦山采掘的粉塵粗、中級凈化。

二、技術參數
型號  | 處理風量(m3/h)  | 設備阻力(mmH2O)  | 除塵效率(%)  | 
CLT/A-3.0  | 670-1000  | 86-195  | 85-90  | 
CLT/A-3.5  | 910-1360  | ||
CLT/A-4.0  | 1180-1780  | ||
CLT/A-4.5  | 1500-2250  | ||
CLT/A-5.0  | 1860-2780  | ||
CLT/A-5.5  | 2240-3360  | ||
CLT/A-6.0  | 2670-4000  | ||
CLT/A-6.5  | 3130-4700  | ||
CLT/A-7.0  | 3630-5440  | ||
CLT/A-7.5  | 4170-6250  | ||
CLT/A-8.0  | 4750-7130  | ||
CLT/A-2×3.0  | 1340-2000  | ||
CLT/A-2×3.5  | 1820-2720  | ||
CLT/A-2×4.0  | 2360-3560  | ||
CLT/A-2×4.5  | 3000-4500  | ||
CLT/A-2×5.0  | 3720-5560  | ||
CLT/A-2×5.5  | 4480-6720  | ||
CLT/A-2×6.0  | 5340-800  | ||
CLT/A-2×6.5  | 6260-9400  | ||
CLT/A-2×7.0  | 7260-10880  | ||
CLT/A-2×7.5  | 8340-12500  | ||
CLT/A-2×8.0  | 9500-14260  | ||
CLT/A-3×3.5  | 2730-4080  | ||
CLT/A-3×4.0  | 3540-5340  | ||
CLT/A-3×4.5  | 4500-6750  | ||
CLT/A-3×5.0  | 5580-8340  | ||
CLT/A-3×5.5  | 6720-10080  | ||
CLT/A-3×6.0  | 8010-12000  | ||
CLT/A-3×6.5  | 9390-14100  | ||
CLT/A-3×7.0  | 10890-16320  | ||
CLT/A-3×7.5  | 12510-18750  | ||
CLT/A-3×8.0  | 14250-21290  | ||
CLT/A-4×3.5  | 2640-5440  | ||
CLT/A-4×4.0  | 4720-7120  | ||
CLT/A-4×4.5  | 6000-9000  | ||
CLT/A-4×5.0  | 7440-11120  | ||
CLT/A-4×5.5  | 8960-13440  | ||
CLT/A-4×6.0  | 10680-16000  | ||
CLT/A-4×6.5  | 12520-18800  | ||
CLT/A-4×7.0  | 14520-21760  | ||
CLT/A-4×7.5  | 16680-25000  | ||
CLT/A-4×8.0  | 19000-28500  | ||
CLT/A-6×4.0  | 7080-10680  | ||
CLT/A-6×4.5  | 9000-13500  | ||
CLT/A-6×5.0  | 11160-16680  | ||
CLT/A-6×5.5  | 13440-20160  | ||
CLT/A-6×6.0  | 16020-24000  | ||
CLT/A-6×6.5  | 18780-28200  | ||
CLT/A-6×7.0  | 21780-32640  | ||
CLT/A-6×7.5  | 25020-37500  | ||
CLT/A-6×8.0  | 2850-42780  | 
備注:以上所有技術參數僅供參考,如有更改不另行通知。